美國華瑞 RAE
美國華瑞 RAE RAEGuard2 PID有機氣體檢測儀 FGM200X 產品介紹:
產品型號:FGM200x
產品品牌:美國華瑞 RAE
產品類別: VOC氣體檢測儀
產品備注:有機氣體檢測儀
美國華瑞 RAE RAEGuard2 PID有機氣體檢測儀 FGM200X 產品概述:
RAEGuard 2 PID 是一款具有隔爆型主機和本安型光離子智能傳感器、固定安裝方式的有機氣體檢測儀。儀器采用了智能化處理平臺和數字化傳感器技術,實現了傳感器離線標定和環境適應功能,還可根據用戶要求定制不同量程。在外部功能上,檢測儀具有圖文顯示和本地聲光狀態指示等功能,同時,檢測儀采用三鍵磁棒外部調節的方式,使操作人員在現場無需開蓋,即可方便的進行標定和維護。
美國華瑞 RAE RAEGuard2 PID有機氣體檢測儀 FGM200X 性能優勢:

美國華瑞 RAE RAEGuard2 PID有機氣體檢測儀 FGM200X 相關參數:

標準配置: 儀器,標定罩,防雨罩,安裝組件,磁棒,防爆轉接頭,防水過濾器,M6扳手,隨機包裝,說明書,合格證
可選附件一: 聲光報警燈,加長采樣管,號碼牌,標氣,減壓閥等
可選附件二: 天氣保護罩套裝
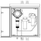
1,是一種簡單的、應用于室外潮濕、多灰塵的惡劣監測環境。整套主要由標配件遮陽罩、干燥箱體、一級過濾(空氣過濾器)和為了最大程度保證RAEGuard2PID能長時間、可靠、穩定工作.

2,DMP-100 前置預處理套裝(氯化鈣吸附干燥過濾),加強過濾,適合室外潮濕及灰塵較大的惡劣檢測環境.

RAE, RAEGuard2PID, 華瑞, 有機氣體檢測儀
![]() |
|